Gamek
Kenh14
Cafebiz
Mobile
AI
Tin ICT
Internet
Khám phá
Xem - Mua - Luôn
Xe
Apps-Game
Đồ chơi số
Mobile
Điện thoại
Máy tính bảng
INTERNET
Digital Marketing
Media
KHÁM PHÁ
Lịch sử
Tri thức
TRÀ ĐÁ CÔNG NGHỆ
Tản mạn
Ý tưởng sáng tạo
Blockchain
Xu hướng
Công nghệ
Nhân vật
AI
TIN ICT
THỦ THUẬT
Sống
EMAGAZINE
APPS - GAMES
ĐỒ CHƠI SỐ
GIA DỤNG
Xe
#
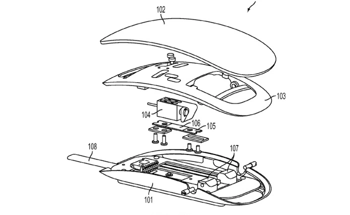
Magic Mouse phiên bản mới
Mới nhất
Cũ nhất
Mới nhất
1
/
9
Chuột Magic Mouse của Apple sắp có công nghệ Force Touch
06/04/2016 | 13:00