Nhu cầu màn hình OLED không còn cao khiến Samsung phải chuyển hướng sang các sản phẩm mới như màn hình có thể gập để thúc đẩy tăng trưởng.
Samsung đang lên kế hoạch cho Galaxy X và có vẻ Apple cũng muốn làm cho bằng chị bằng em.
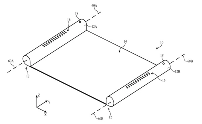
Trong tương lai, bạn có thể cuộn màn hình iPhone lại theo cách như thế này.
Liệu đây có phải là "sát thủ" mới của Samsung trong năm 2017 không?
Một báo cáo từ Hàn Quốc mới đây khẳng định LG G6 sẽ không được trang bị màn hình OLED linh hoạt như dự kiến.
Theo thông cáo báo chí của LG, công ty này đang tìm cách đầu tư gần 2 tỷ USD vào việc sản xuất màn hình OLED linh hoạt.