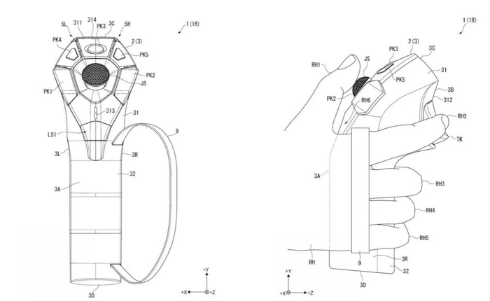
#

playstation vr