Samsung đang nghiên cứu loại hộp đựng thiết bị điện tử có thể tái sử dụng để bảo vệ môi trường
Hãng điện tử Hàn Quốc đang phát triển một loại hộp đựng có thể tái sử dụng. Đây là động thái mới nhất của Samsung nhằm giảm chất thải phát sinh từ bao bì trong quá trình bán các sản phẩm điện tử.
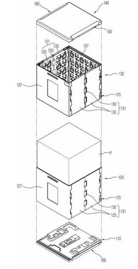
Samsung mới đây đã xin cấp bằng sáng chế liên quan đến một sản phẩm có tên gọi là "Reusable Packaging Box" hoặc "Hộp đựng có thể tái sử dụng". Theo bằng sáng chế mô tả, hộp đựng này là sự kết hợp của một lớp đệm bên trong và một lớp bảo vệ bên ngoài.
Thông thường một sản phẩm có kích thước lớn như tủ lạnh thường được đựng trong các thùng carton lớn và bên trong là lớp xốp có vai trò chống sốc. Tuy nhiên sau khi lấy sản phẩm ra ngoài, hộp đựng thường bị vứt đi hoặc đem tới các cơ sở thu mua phế liệu.
Điều này vô tình tạo ra chất thải và gây ô nhiễm môi trường, đặc biệt là xốp chống sốc vì nó không phải là vật liệu có thể phân hủy sinh học.
Để giải quyết vấn đề trên, hộp đóng gói mới được thiết kế với trọng tâm là sử dụng được nhiều lần thay vì chỉ đơn giản là vứt bỏ sau một lần. Theo đó vật liệu đêm tích hợp vào lớp vỏ ngoài giúp đơn giản hóa quá trình đóng gói, đồng thời giảm số lượng chất thải.

Mô tả bằng sáng chế về loại hộp đựng có thể tái sử dụng của Samsung
Động thái trên của Samsung chịu ảnh hưởng từ nhiều yếu tố, trong đó có quy định sắp tới của chính phủ Hàn Quốc về chất thải điện tử. Bảo vệ môi trường và giảm ô nhiễm do các tập đoàn lớn gây ra, đặc biệt là các công ty trong ngành công nghiệp điện tử đã trở thành cuộc tranh luận kéo dài suốt nhiều thập kỷ qua tại xứ sở kim chi.
Nếu quy định mới được áp dụng, hộp đựng có thể tái chế của Samsung sẽ góp phần giảm thiểu tác động của hãng đối với môi trường. Lý do bởi Samsung là một trong những hãng điện tử lớn nhất thế giới và cũng là nguồn dễ gây ô nhiễm lớn.
Phương pháp sản xuất hộp đựng mới nằm một phần trong chiến lược mới của Samsung, đó là tìm nguồn cung ứng cho các sản phẩm sử dụng vật liệu tái chế, đồng thời tối ưu hóa quy trình sản xuất và giảm lãng phí trong quá trình lắp ráp.
Tham khảo Gizmochina
NỔI BẬT TRANG CHỦ
-
Rút ví mua RAM giá cao hơn cả Samsung đòi, tưởng hớ nhưng hóa ra đó là cách Apple bóp nghẹt đối thủ của mình
Khi nguồn cung RAM trở nên khan hiếm, việc giá cao hay thấp không thành vấn đề nữa.
-
Hãy chấp nhận: Kỷ nguyên phần cứng gây wow đã qua, giá trị flagship giờ nằm ở 2 yếu tố